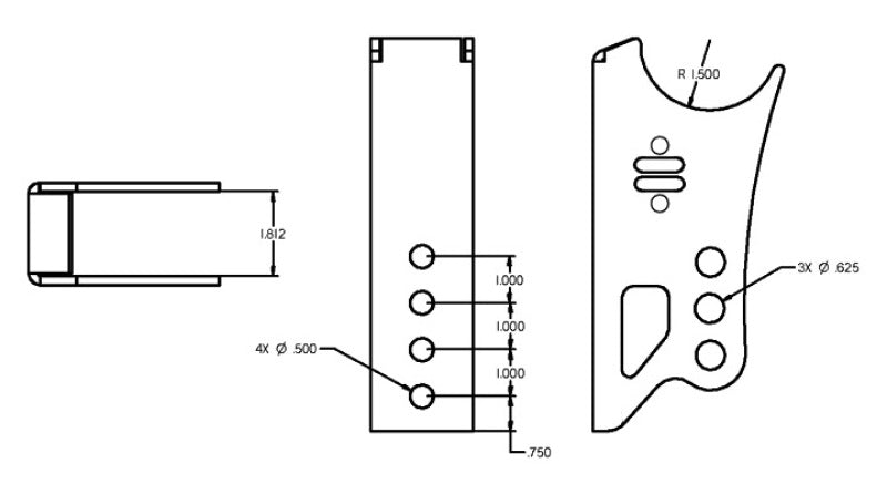
Ridetech Weld On Rear Axle Bracket for Bolt-On 4 Link

RidetechSKU: RID70010122

Price:
Sale price$35.00

Description

Payment & Security

Amazon American Express Apple Pay Diners Club Discover Google Pay Mastercard PayPal Shop Pay Venmo Visa

Your payment information is processed securely. We do not store credit card details nor have access to your credit card information.

You may also like

Recently Viewed